网友都说新浪众测不讲武德 , 数码新品说发就发 , 新奇好物说送就送 。 不怕你没想法 , 就怕你不行动 , 加入新浪众测 , 和数码大V一起聊产品 , 谈体验!
【新浪科技综合|苹果正在研究如何通过显示屏检测光线 以用于Face ID和Touch ID】本文来自cnBeta
目前的iPhone机型 ,像iPhone 12和iPhone 12 Pro系列 ,他们的Face ID系统和传感器套件安装在显示屏顶部的刘海当中 。 然而 , 苹果公司正在研究一个系统 , 最终可以让它最大限度地减少或完全取消刘海 。
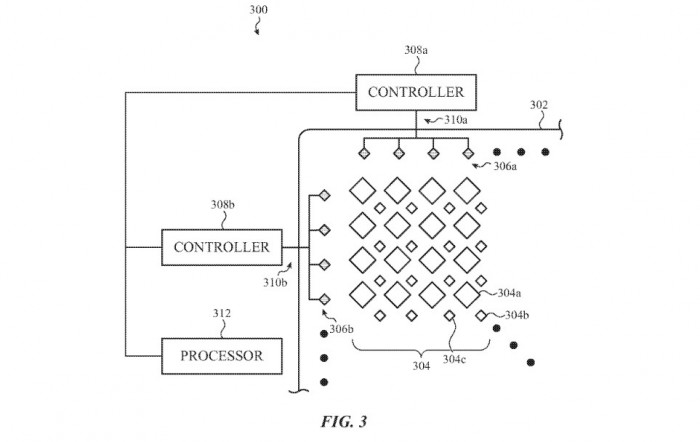
在3月4日公布的 , 名为 “用于检测电子设备显示屏发光层所受光线的传感系统 ”的专利申请中 , 苹果列出了一个将光线检测层嵌入显示屏堆栈的系统 。 与光传感系统相关的光传感器可以分布在显示屏活动显示区域周围或内部 。
该专利给出了两个直接的例子 , 声称光传感器可以组合出触摸显示屏的物体图像 , 这可以用于基于光学成像系统的显示屏内Touch ID 。 该专利还认为 , iPhone的环境光传感器也可以包括在内 。 更具体地说 , 系统本身可以包括集成在像素区域之间或发光显示器周边的光电二极管或太阳能电池阵列 。 该系统可以使用来自光电二极管或太阳能电池的电信号来感应颜色 或入射到显示器堆栈的光强度 。
该专利指出 , 它主要涵盖了该系统对环境光传感器的使用 , 但补充说 , 它的价值并不止于此 。 环境光传感器只是一个例子 , 在其他实施例中 , 光传感系统可以被适当地配置为作为或与以下系统一起使用:光学成像系统(例如摄像头、光场传感器、深度传感器、指纹成像传感器、虹膜或视网膜成像系统等) , 触摸输入传感器 , 力输入传感器 , 生物识别测量系统(例如光心电图传感器、血液氧饱和度传感器、呼吸传感器等)等等 。
该专利的大部分描述都集中在环境光传感器上 。 即使只用于环境光传感器 , 该系统也可以用于缩小未来iPhone机型的刘海尺寸 , 因为目前光传感器是嵌入在刘海中 。 然而 , 鉴于有传言称苹果正在寻求将刘海最小化 , 或在未来的手机上重新引入Touch ID , 该专利申请很可能是越来越多的技术一部分 , 可能会实现这一目标 。
苹果每周都会提交众多专利 , 因此单个专利申请并不能很好地说明产品发布的时间或可能性 。
文章图片
图1/2
文章图片
图2/2
推荐阅读
- 产品|泰晶科技与紫光展锐联合实验室揭牌
- 空间|(科技)科普:詹姆斯·韦布空间望远镜——探索宇宙历史的“深空巨镜”
- 相关|科思科技:无人机地面控制站相关设备产品开始逐步发力
- 机身重量|黑科技眼控对焦23年后回归,升级! 江一白解读EOS R3
- 公司|科思科技:正在加速推进智能无线电基带处理芯片的研发
- 项目|常德市二中2021青少年科技创新大赛再获佳绩
- 视点·观察|科技巨头纷纷发力元宇宙:这是否是所有人的未来?
- 技术|聚光科技旗下临床质谱仪获批医疗器械注册证
- 视点·观察|科技股连年上涨势头难以持续:或已透支未来涨幅
- 视点·观察|科技行业都在谈论“元宇宙”,可是它还不存在
