
文章图片
文章图片
芯片半导体板块大涨4% , 我的芯片半导体基金之前赚了1万元 。 由于大涨很多基金投资者开始关注该板块 , 纷纷询问半导体主题基金怎么样 , 如何挑选 , 那么今天就给大家简单分享下这方面的内容:
1、了解概念板块【隆平高科|今天我的芯片半导体基金赚了1.2万,教你玩转芯片半导体主题基金】所谓芯片半导体 , 实质上是科技板块的细分行业 , 之前因为华为、贸易问题、国产替代等 , 芯片被作为一个热点 , 逐步炒作起来 。 后来因电子消费、芯片短缺等各种原因 , 多次处在风口 。
2、提高风险意识从行业板块来看 , 科技行业是高成长、高波动行业 , 那么作为细分行业的芯片半导体板块 , 更是波动巨大 , 动辄好几个点的涨跌 , 短期甚至十几个点的波动 , 风险堪比股票甚至高于股票 。
从消息层面看 , 该板块并不像消费医药板块那样长期有行情 , 而是行情来了疯狂涨一段时间 , 行情过后可能迅速调整 。 有时候没有利好消息可能数月长期调整或震荡盘整 。
所以该板块的风险是非常大的 , 投资前 , 大家一定要充分认识风险 。
3、芯片半导体基金挑选目前市场上的芯片半导体基金有很多 , 风格也有很多种 , 简单的可以分为以下几类 。
一是持仓芯片半导体的主动混合型基金 。
该类基金只有一两只重仓的半导体股票 , 整体半导体仓位占比较低 , 大部分均衡混合类基金 , 或者是泛科技主题基金 。 比如黄兴亮的万家行业优选、冯明远的信达澳银新能源产业股票、许炎的富国互联科技股票等 。 本类基金和芯片半导体走势相差较大 。
二是重仓芯片半导体的基金 。
该类基金50%以上的仓位持仓芯片半导体类股票 , 其他的仓位持仓和芯片半导体相关或泛科技类股票 。 比如华夏中证5G通信主题ETF联接、银华中证5G通信主题ETF联接、天弘创新领航等 。 本类基金和芯片半导体走势大致趋同 。
三是满仓芯片半导体的基金 。
该类基金80%以上的仓位持仓芯片半导体类股票 , 其他的仓位持仓也基本和芯片半导体相关 。 本类知名基金比较多 , 我们分为两类 , 一类是主动型半导体基金 , 一类是被动型半导体指数基金 。
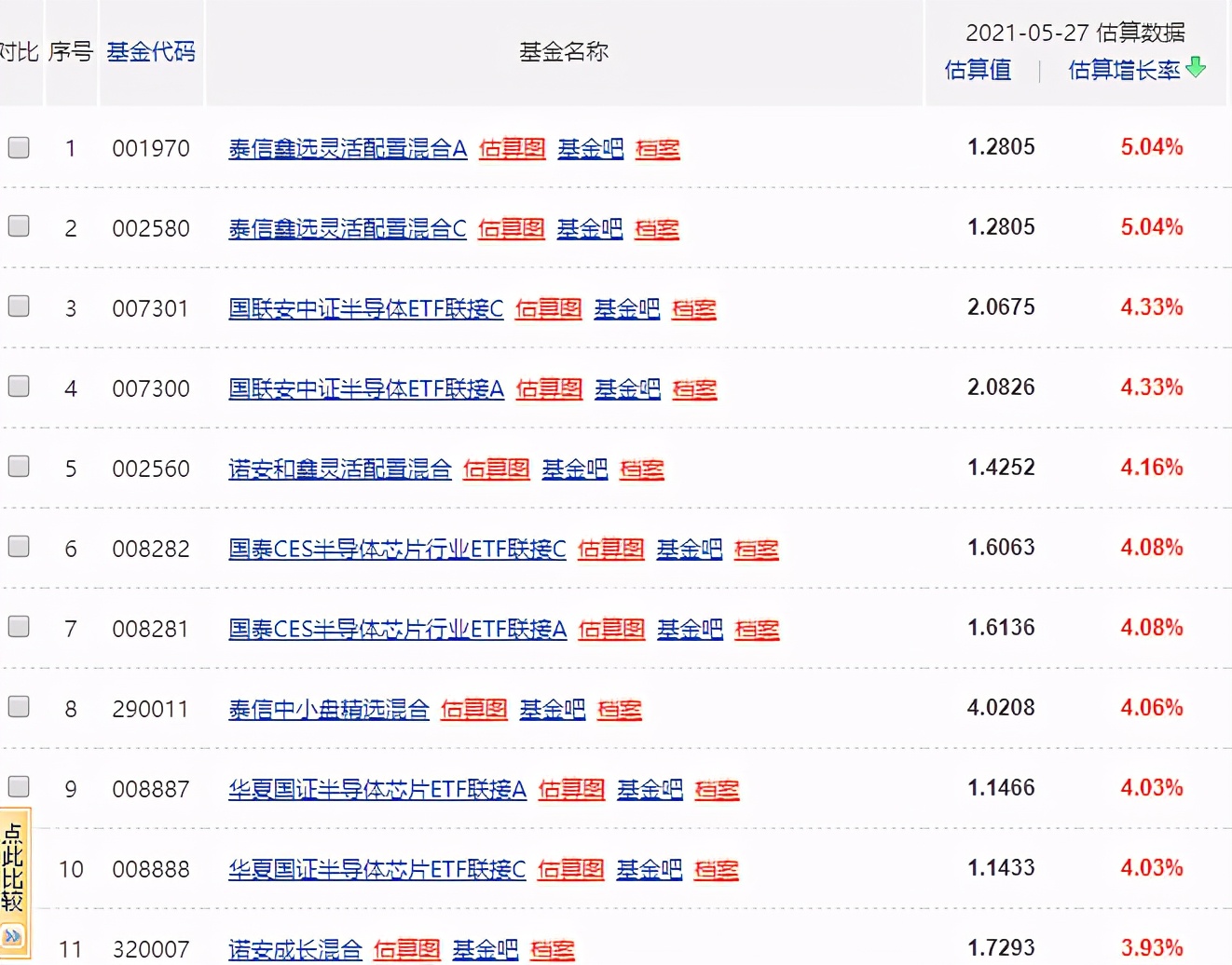
主动混合型半导体基金有:蔡嵩嵩的诺安成长混合、诺安和鑫灵活配置混合;郑巍山的银河创新成长混合、银河和美生活混合;董季周的泰信中小盘精选混合、泰信鑫选灵活配置混合;龙宇飞的长城久嘉创新成长混合等 。
被动指数型半导体基金有:国联安中证半导体ETF联接、国泰CES半导体芯片行业ETF联接、华夏国证半导体芯片ETF联接等 。
三类基金 , 一般半导体的持仓越重波动越大 , 行情来了涨得多 , 但是行情去后跌的也多 。 但往往很多基金投资者都会选择第三类 , 寻求刺激 。 前面我说了 , 一定要注意风险 , 这个行业板块风险真的特别的大 , 千万不要玩过头哦 。
篇幅原因只讲了一半 , 关于半导体行业板块认知及基金挑选就先讲到这 , 随后接着将满仓半导体的基金都有什么区别 , 如何选 。 比如诺安成长、银河创新、泰信中小盘区别在哪 , 如何选择 。 三个半导体指数基金有什么不同 。 半导体主动基金好还是指数基金好呢?
关注我 , 随后重点分享以上内容 。 逐日学基金 , 每日分享基金干货 , 关注我不会错!
推荐阅读
- 手动挡正确开法 手动挡的车怎么开
- 肿节风的功效与作用
- 预防老年肺炎有窍门
- 带鱼有哪些制作方法?
- 语文作文怎样写好?
- 怎样做能亮肤保养
- 如何书写一遍作文
- 请教8月底甘南自驾?
- 精神卫生常识 精神卫生做到位让人更健康
- 生理期能吃巧克力吗
