微软新专利曝光,揭秘可折叠设备设计
----微软新专利曝光 , 揭秘可折叠设备设计//---- http://
"multi_version":false
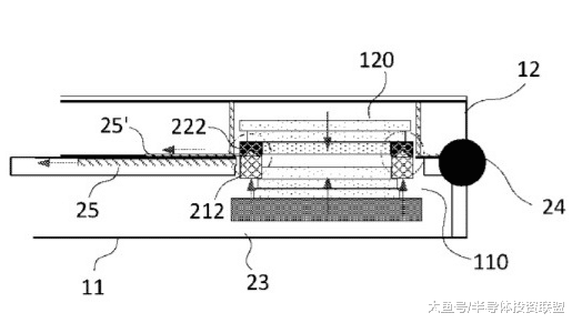
集微网消息(文/叶子) , 据外媒报道 , 近日 , 美国专利商标局(USPTO)公布了微软公司的一项“带有分割成像系统的设备”的新专利 。
文件表明 , 微软设想了一款具有两个主体部分的设备 。 其中一部分包括了“可移动成像单元” , 另一部分包含了所谓的“光学单元” 。
在第一种模式下 , 两部分可通过磁力吸附到一起 , 成像单元和光学单元被固定在相对的位置 。 在第二种模式下 , 成像单元则会远离光学单元 。
推荐阅读
- 微软|微软Xbox 20周岁了,但这些密辛你未必知道
- 微软|热血传奇:54级巨战《恩比德》,5万的裁决用来挂机好吗?
- 微软|【多图杀猫?】IGN满分大作《极限竞速:地平线 5》今日正式发布
- Xbox|微软上季度游戏收入增长5亿美元,Xbox销售收入飙升166
- Xbox|曝微软正制作“少林”游戏 由《热血无赖》开发者与Xbox合作开发
- 索尼|有钱就能为所欲为!Sony新专利可付费移除指定玩家!
- 太空狼人杀|《太空狼人杀》将登陆索尼和微软的游戏平台,基础售价29.99美元
- 索尼|索尼注册新专利,可以让看电竞比赛的观众投票或付费踢掉某选手
- playstation5|微软XGP游戏库10月下旬追加游戏公布,PS5国行光驱今日行情4589元
- 微软|微软XGP近期加入众多好游戏,大家不容错过
