「专利解密」长江存储 3D NAND存储器
----「专利解密」长江存储 3D NAND存储器//---- http://
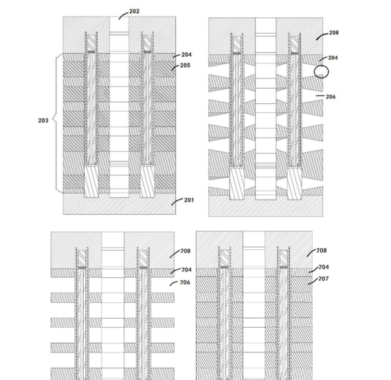
----「专利解密」长江存储 3D NAND存储器//---- http://
「专利解密」长江存储 3D NAND存储器
推荐阅读
- 原神|原神:鹤观有些解密是真阴间,翻山越岭下水不说,还得穿墙?
- 刺客信条起源|刺客信条起源“塞特阿娜特之墓”古老石板解密攻略
- 索尼|有钱就能为所欲为!Sony新专利可付费移除指定玩家!
- 索尼|索尼注册新专利,可以让看电竞比赛的观众投票或付费踢掉某选手
- 睡眠之中|梦中的恐怖之旅:Epic本周送出阴间恐怖解密游戏《睡眠之中》!
- |原神惑饲滩石头解密攻略大全 惑饲滩石头机关解密教程
- 原神|原神:能让你持续玩一年的动力?角色?宝箱?还是解密?
- |丧尸不是欧美的专利,亚洲丧尸片推荐
- 梦幻西游|梦幻西游:梦幻第二部限时资料片上线,是纯单人探案解密类玩法
- 预告|明日方舟新官方预告解密 鹰角小姐的饼还是面粉阶段 28日有大动作
