IT之家|华为公开“无线充电系统”专利,可用手和金属提高充电距离
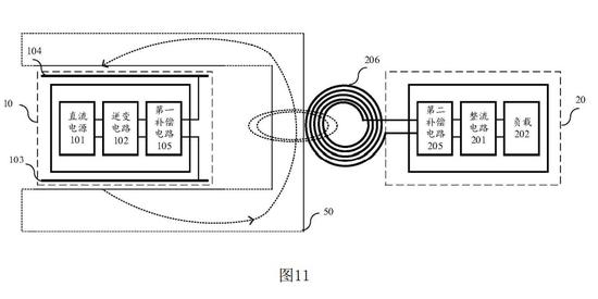
企查查 App 显示 , 近日 , 华为技术有限公司公开 “无线充电系统”专利 , 公开号为 CN112564295A , 企查查专利摘要显示 , 本申请公开了一种无线充电系统 , 属于无线充电技术领域 。 本申请中两个发射电极中的一个发射电极和两个接收电极中的一个接收电极通过电导率大于空气的电导率的第一传输介质耦合 , 因而可以提高这一个发射电极与这一个接收电极间的等效耦合电容 , 从而可以有效提高无线充电传输距离 , 增强无线充电灵活性 。
文章图片
图1/7
文章图片
图2/7
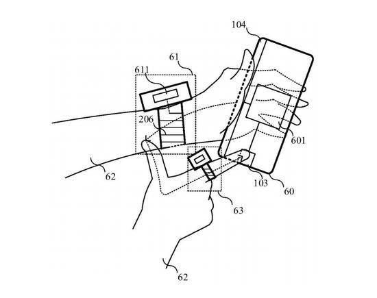
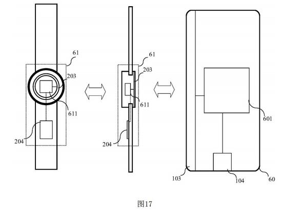
根据专利描述 , 目前的无线充电技术需要两个线圈正对放置 , 并且距离需要很近才可以充电 , 这样大大限制了无线充电技术的应用 。 华为这项专利使用多种介质 , 包括铁、铝、铜、合金材料、金属管道、设备金属外壳、建筑物金属结构、 接地网等金属 , 也可以为如人体、动物、土壤、大地、海水等非金属电介质 , 只要其电导率大于空气的电导率即可 。
文章图片
图3/7
【IT之家|华为公开“无线充电系统”专利,可用手和金属提高充电距离】
文章图片
图4/7
IT之家了解到 , 华为这项专利的目的是提高发射电极与接收电极间的等效耦合电容 , 这样可以有效提高发射装置与接收装置之间的传输功率 , 从而实现较远距离无线充电 , 尤其适合智能手环、手表这种贴身佩戴的设备 。 以下为该专利的应用演示图:
文章图片
图5/7
文章图片
图6/7
文章图片
图7/7
推荐阅读
- 硬件|汽车之家年底裁员,员工称多个职能部门已被撤销
- 测试|图森未来完成全球首次无人驾驶重卡在公开道路的全无人化测试
- MateBook|深度解析:华为MateBook X Pro 2022的七大独家创新技术
- 果君|华为Mate X2 典藏版竟逼疯整个摄制组?拯救手滑的神器终于来了(视频)
- 测评|【横评】5年前的老机型测评 苹果华为三星小米魅族一加现在卡吗
- 警告!|华为联想卷入滴滴高管千万受贿案 判决书曝光浪潮曾向其输送720多万
- 娱乐|华为智慧屏迎来“影音娱乐”场景三大升级
- 最新消息|汽车之家回应裁员传闻:系正常业务结构优化、涉及人员不到5%
- 商务|微星发布新款 4K 显示器:HDR600认证
- 华为|Insights直播回顾手语服务,助力沟通无障碍
