
文章图片

手机厂商似乎从来停止对前置摄像头形态的探索 , 从挖孔、药丸、刘海到弹出式摄像头 , 再到今年最新的屏下摄像头技术 , 摄像头孔径越来越小 , 甚至完全隐藏在屏幕下面 。 最终的目的就是提高屏占比 , 每一次的创新也是为提升用户的视觉观感 。 而提到创新 , OPPO绝对有一席之地 , OPPO近日又有一项新专利被曝光 , 也是关于摄像头形态的 。
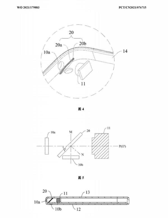
据专利文件显示 , 它跳脱出了前后置这一种摄像头形态 , 而是在机身侧面为摄像头开了一个孔 , 从而实现机身侧面的机位拍摄 。 这可不是让用户拍摄时使用手机侧面进行拍摄 , 而是内置了一个旋转反射模块 , 当它检测到需要拍摄的对象时 , 它就会通过旋转读取侧面进来的撞线 , 从而进行拍摄 。
我感觉这跟弹出式摄像头的原理差不多 , 只不过一个是从机身顶部弹出来 , 另一个是从机身侧面旋转出来 。 这样既能实现全面屏 , 又能很好地完成拍摄 。 像是目前的屏下摄像头技术还并未完全成熟 , 只是看起来屏幕更加完整 , 但是前置拍摄效果却大打折扣了 。
【摄像头|OPPO新专利曝光,前后置摄像头外的另一种形态,侧边拍照】
目前该技术还处于专利阶段 , 如果量产的话估计会更加成熟 , 更加实用 。
推荐阅读
- 鸿蒙系统+5nm处理器,5G版现货充足,终于等到了
- 五眼联盟变五“瞎”联盟,间谍和特工都藏不住,一动都不敢动
- 论一辆重卡的自我修养
- 春节换机人士别着急,先了解一下这几款性能、拍照样样行的旗舰
- 妻子回娘家坐月子,闺蜜趁机对丈夫“下手”丈夫:认识当晚就开始
- 男子杀猪请客吃饭,客人摔倒后身亡,家属告上法庭索赔77万
- 广东信宜17岁男孩,帮同伙望风,获刑两年一个月!
- 荣耀手机销量冲到国内第二,50、60系列功不可没,春节期间再降价
- 搞笑GIF:让女朋友擦一下倒车的摄像头,我是不是想多了
- 后置摄像头有闪光灯,那前置摄像头呢?vivo S12 Pro影像体验
