名品商标转让 百度华为申请新商标,商标保护布局已展开

文章图片
文章图片
文章图片
文章图片
【名品商标转让|百度华为申请新商标,商标保护布局已展开】
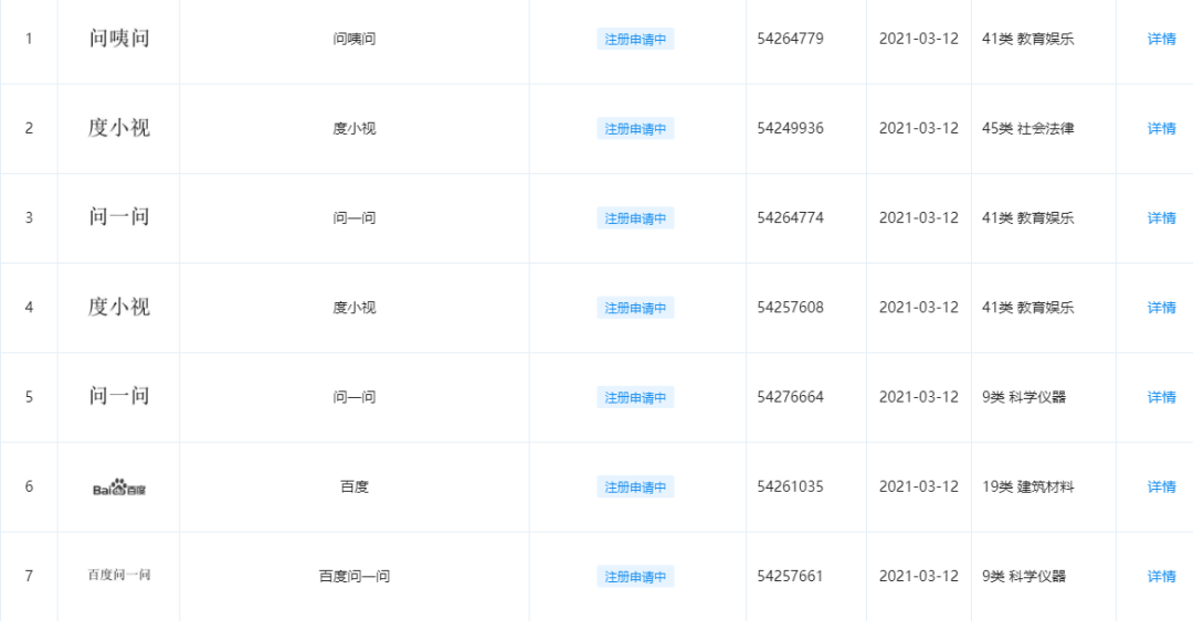
据企查查APP显示 , 3月12日 , 百度在线网络技术(北京)有限公司申请注册了包括“问咦问”、“问一问”和“百度问一问”在内的多个商标 , 国际分类涉及41—教育娱乐、9—科学仪器等 。
从商标名称上看 , 百度申请的多个商标并没有释出什么明确的信息 , 但从申请申请涉及的国际分类上来看 , 此次百度重点申请的分类区域 , 是“教育娱乐”类的板块 。
联系百度前几天申请的几个商标 , 可以发现这或许是百度未来进军教育领域的一个“信号” 。
根据百度在线网络技术(北京)有限公司知识产权板块的相关检索结果显示 , 其实从2月20日开始 , 百度就申请了多个名称为“学帮帮”、“帮帮学”和“熊掌学堂”的商标 , 国际分类同样涉及41—教育娱乐和9—科学仪器等 。
无独有偶 , 华为近来也是频频登上热搜 , 前天官宣开始收5G专利费 , 而后由在深圳总部召开发布会宣布将开始实施专利许可收费计划 。 而根据昨天爆出的信息显示 , 在这些“大动作”的同时 , 华为还悄悄申请了一系列的商标 。
根据企查查APP显示 , 华为技术有限公司在3月11日集中申请了包括“P10”、“P20”、“P40”、“P60”、“P100”在内的多个商标 , 国际分类涉及9—科学仪器、12—运输工具等 。
华为申请的这一系列商标虽然是P系列手机名称上的延续 , 但从其国际分类上来看 , 其实二者并无联系 。 说明华为并不是将P系列研发到P100 , 而仅仅是提前申请了相关商标 。
这与百度申请“熊掌学堂”、“学帮帮”商标也有着异曲同工之妙 。
根据《商标法》中第31条的规定 , “同一种商品或者类似商品上 , 以相同或者近似的商标申请注册的 , 初步审定并公告申请在先的商标 。 ”
随着国家对于知识产权保护越来越重视的信号慢慢释出 , 各大企业也在同步更新着自己的商标保护布局 。 这种提前申请相关商标的行为 , 其实是百度和华为鉴于《商标法》中“申请在先原则”而建立的对自身的防护 。
企业需要提前做好知识产权风险保护 , 由于商标的申请周期较长 , 所以对商标做到“未雨绸缪”的保护 , 也是一种必要的手段 。
推荐阅读
- Baidu 百度网盘+QQ音乐联合会员大促:最高优惠516元 买一得四
- Baidu 集度汽车百日谈:百度准备造辆什么车?一个“四轮机器人”
- IT 百度造车最新进展:首款车售价超20万,下半年开启融资
- Baidu 百度搜索新规禁止页面内容折叠跳转
- Huawei 曝华为已获得“鸿蒙”商标转让:6月2日正式发布
- 神豪 冕李七夜团,遇YY+百度顶尖组合 乱斗最高荣耀!米诺登赛季代言人
- 百度 肖战磐涅重生,又一荣誉被主流官方公布,暖心寄语太感人
- 最新消息 抖音快手百度等105款App违法违规收集使用个人信息
- Baidu 百度网盘电视端开启内测 可实现云端大屏看片
- 班墨铭典 一个文化与商业完美融合的著名品牌“跃世”
